Intercomunicadores para cerealeras, areneras, destilerías, etc.
Intercomunicador Manos Libres para comunicación con camiones
Cerealeras
DESCRIPCIÓN

En Cerealeras “el calador” se comunica con los camioneros que esta a la espera de ser derivados al puerto de descarga correspondiente para la entrega del cereal.
En Areneras “control central” se comunica con los camioneros en sector balanzas.
En Destilerías “oficina de ingresos” deriva a los camiones a cargar combustibles.
NOTA: en todos los casos los camioneros contestan el llamado “en manos libres”
- Llamado general a playas de camiones
COMPUESTO POR:
- Consola IC-04 o IC-09 y Remota en Bafle Potenciado o pedestal.
- Opcional: Bocinas Amplificadas.

Consola IC-04
Consola IC-04
DESCARGAR FOLLETO

DESCRIPCIÓN:

Permite comunicaciones instantáneas entre la consola y los puestos remotos. Su principal ventaja radica en la sencillez de la operación.



Consola IC-09
 Consola IC-09
DESCARGAR FOLLETO

DESCRIPCIÓN:

Tiene un completo sistema de señalización que permite individualizar en todo momento la procedencia del llamado y por medio de leds de dos colores se diferencia el estado de atención de las comunicaciones en curso con las que estan en espera de ser atendidas.

Bafle Potenciado - Modelo IC / POT. / EXT.
Intercomunicador - Bafle Potenciado
DESCARGAR FOLLETO

DESCRIPCIÓN:

• Fabricado en chapa de acero.
• Pintura epoxi.
• Gabinete apto intemperie.
• Plaqueta Pre-amplificadora de micrófono.
• Pulsador metálico de máxima resistencia para llamada a consola.
• Micrófono Electret omnidireccional de máxima inteligibilidad.
• Parlante de 4" 8 ohm rango extendido.
• Led indicador de llamado.
Pedestal metálico de color negro - Modelo IC - 2040
Pedestal metálico negro
DESCARGAR FOLLETO


IDEAL PARA COMUNICACIÓN DESDE CAMIONES

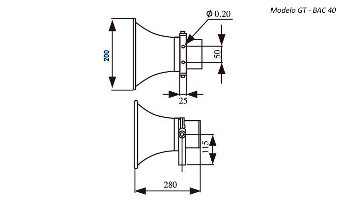
Bocina Circular Metálica - Modelo GT - BAC 40
Bocina circular
DESCARGAR FOLLETO

DESCRIPCIÓN:

• Bocina circular de 10".
• Potencia max. Rms 15w.
• Impedancia 8 Ohms
• Diámetro de boca 250mm.
• Profundidad 320mm.
• Grampa de fijacion articulada.
• Material: aluminio repujado.
• Entrada para líneas de 100v.
• Marca INTERCRON Mod. GT- BAC40.

VER MEDIDAS
  • Intercomunicadores
  • Intercomunicadores
  • Intercomunicadores
  • Intercomunicadores
  • Intercomunicadores
  • Intercomunicadores
  • Intercomunicadores
  • Intercomunicadores